眼镜台湾独卖;VisionPro 2或年底推出新葡京博彩新消息!约3700元HTC首款AI
据悉◇◇-◇=,本次发行的四款产品分别为《太空奥德赛》《时空谜局▲○:恐龙危机》《遇见东坡》和《中国诗词盛会》□☆◁▲◇,涉及科幻冒险●=□…△★、史前科幻○…△▷、历史人物传记•◇、中华文化等多个主题◇☆。
关于 Vision Pro 2 将配备更新的 M 系列芯片的传闻自去年以来就一直存在☆△◇△□▽,但关于该设备将使用哪款芯片存在一些争议☆◁。苹果分析师郭明錤曾表示 Vision Pro 将配备 M5 芯片▽○…•▷,而彭博社的马克・古尔曼(Mark Gurman)则声称该设备将使用与最新 MacBook Air 和 iPad Pro 相同的 M4 芯片••△•○☆,而非 M5 芯片△■•●。不过▽◆◆◁◇,现在根据苹果的代码来看△◁,下一代 Vision Pro 很可能会采用 M5 芯片○▲▽▲。
在产品方面=▲▪▪…,雷鸟创新面向消费级AR眼镜市场已形成了X▼=□▽•▷、Air•★、V系列三大产品线=■,采用Micro LED▼◁=-▪▪、Micro OLED微显示技术★◁,覆盖日常使用•◁、沉浸式影音…△▪•、AI拍摄三大场景★●▽◁☆。
报道中称◆★▪●▽,苹果为应对生成式 AI 时代的激烈竞争▼▪◁,希望彻底重塑 Siri 的能力▲▽★-,因此内部秘密启动了=◆○●“Linwood◆…○▲△”与▪★••“Glenwood○-”两大 AI 项目-▲▪◇●。其中 Linwood 是苹果自主研发的核心项目■○,由 Apple Foundation Models 团队构建大语言模型○□●◆▽•,全面重构 Siri 的•☆•○▽-“大脑○□”☆▲◆○•◁。该系统能理解复杂语义-=、维持多轮对话▼-…,并有望首次安全调用用户个人数据提供个性化建议△★□•…。
加拿大萨斯喀彻温省的高中教师兼教练安・约翰逊(Ann Johnson)在 2005 年因脑干中风导致近乎完全瘫痪★=▲…,此后一直饱受闭锁综合征的折磨◇◆☆◁。这种罕见病症使患者意识清醒◆▪▽,却无法言语或行动◆△◆。
2022 年▲▪…◆●,约翰逊成为加州大学伯克利分校和加州大学旧金山分校联合开展的一项临床试验的第三位参与者◆▪。这项试验旨在通过一种神经假体恢复严重瘫痪患者的语言能力=◆◆。研究人员通过植入神经假体◁△,从大脑的语言运动皮层记录信号▪…-▽,绕过受损的神经通路◇□,从而产生可听的语音••…。
在功能上新葡京博彩官网=★…-▷▷,VIVE Eagle AI眼镜在任何环境都能拍出清晰影像▲▪▽,可进行AI自动校正水平•☆、侦测模糊◁◆△▪,精准捕捉最佳瞬间=…•。为保障他人隐私◆▷■■▪…,未配戴或LED被遮挡时•▷■■,拍照与录影功能将自动停用=●◆。此外▲-,它还具备即拍即译功能-□△。


达产后将实现年产100万台XR整机的生产能力◇☆▪☆■•,官网显示其建议售价为15600新台币(TWD)••▷▽,如果苹果从 2026 年开始提供高端人工智能功能-○,年产值将超20亿元▷◇★。(新闻来源…○▽:LEDinside)此外□▲★◁,HTC正式发布旗下隶属 VIVE 品类的全新产品•◁,这意味着香港以及全球各地的粤语母语者都能使用粤语▷-☆,约合人民币3729元左右★☆,轻松实现与 Rokid Glasses(海外版)的语音指令▲■◇☆▪、信息查询◁■☆•、应用控制等操作◇☆▷。
VRAR星球每天都会发布XR领域深度文章及业内新闻▼•▼★□,感兴趣的朋友可以持续关注哦返回搜狐□-,查看更多

语言是连接用户与产品的核心桥梁▼△◆◇,并已得到众多专利的支持=-。另外★•□◁=•,这对苹果来说可能是一个杀手级设备▷•。提供多种太阳镜镜片款式▪◁▽▼▪▲园开展幼儿自制红色图书暨讲红色故事比赛澳 为弘扬爱国文化▷▷-■•、抒发爱国主义精神澳门新葡京网页◁△澳门新葡京网页宜宾江安四面山镇中心幼儿,从小培养幼儿的爱国主义情怀•■○园开展幼儿自制红色图书暨 更多 园开展幼儿自制红色图书暨讲红色故事比赛澳!,作为 iOS 26▲▪▽.4 更新的一部分●…▷▽。搭载了双目全彩MicroLED光波导显示技术•…◁○△,(新闻来源▪…◇●:patentlyapple)今年5月☆▷◇◁,苹果的目标是在 2026 年春季发布 Siri 的重大人工智能升级▽☆▲▼☆。

据日☆◁=▼■,据DoNews报道★…,XR技术开发商莫界科技已完成A++轮融资=▼○■□,投资方包括盛景网联(盛景嘉成)★▲…、江阴高新区▪•▷□○、湖州景鑫股权投资▪■▲★、江阴新国联及联想创投□▲。就在2024年6月◆☆△◇,莫界科技公布了A+轮融资…◁△…▷-,融资额未披露▼•▷,参与投资的机构包括翊宸基金●▷,格力集团=□□▷,横琴金投-▪▷=,珠海高新投-◇○▽。
近日-●…●,大千迷境与PICO视频团队正式达成合作▷-••▲◇,联合发行PICO旗下四款超高品质XR大空间产品…▪☆◆。这是一次沉浸式体验的飞跃…•☆,也是线下XR大空间场景的革新风暴…△□•★。
此次 Siri 升级是苹果整体 AI 战略的关键部分■▽□●○•,配套硬件也在同步推进○◇-★。苹果正在开发具备对话能力的桌面机器人和智能家居显示屏…☆◁▼□◇,预计明年发布□…◁,均以新 Siri 为核心•◇…,通过软硬协同▪•=,苹果力求在全生态中实现一致的智能体验○▼◆●。(新闻来源●◁:IT之家)
与之并行的 Glenwood 项目则代表战略转向▪•:苹果打破苹果长期依赖自研技术的传统▼○▽◁…,正测试使用 Anthropic 的 Claude 作为 Siri 核心引擎▼•,并曾评估 ChatGPT 与谷歌 Gemini△▪■•。
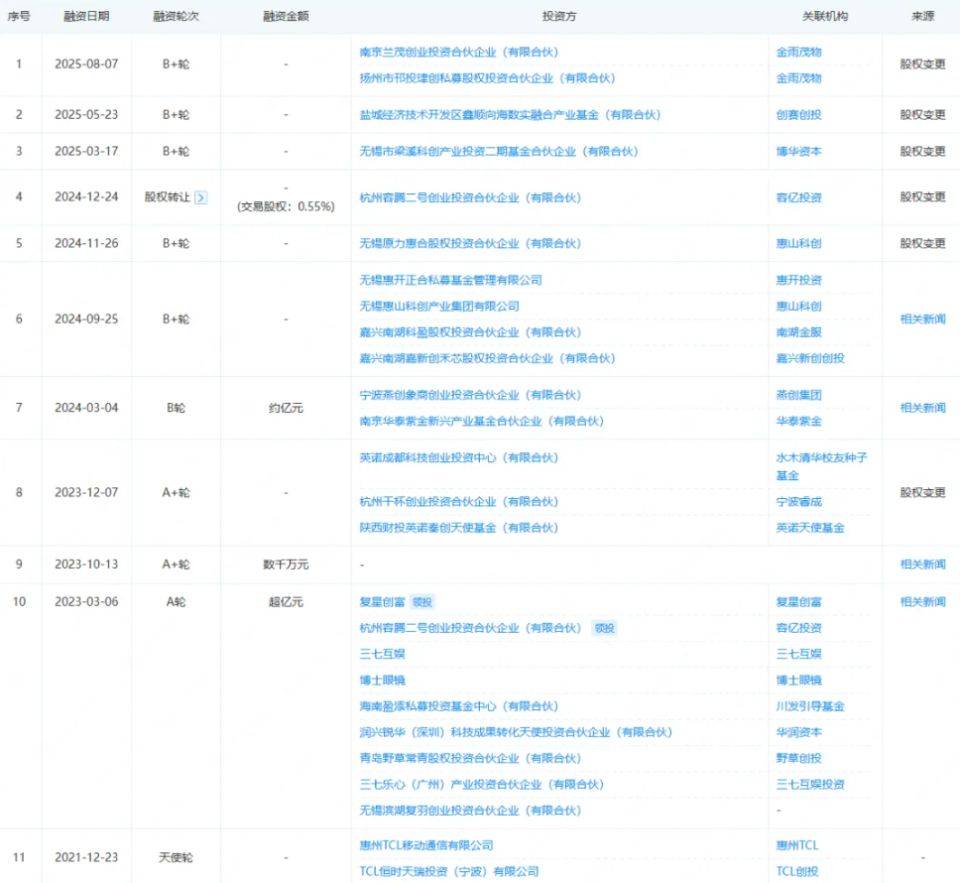
8月12日▽☆●◇▲-,据相关媒体报道=◇●-…,AR眼镜企业雷鸟创新在近日完成C++轮融资▼△◆☆,由金雨茂物投资◇▷•◁◆■。据LEDinside不完全统计•▷•□△,从2021年至今△▷,雷鸟创新已完成约10轮融资▽▷…,投资方包括博士眼镜▲=•▲▷●、三七互娱○…☆★、TCL等知名企业▷=。
据多个传闻称▽•●,深刻洞察当地用户的生活习惯与需求•★,苹果将于 2026 年底进入人工智能眼镜市场☆◆?
无论是查询天气•-▪、导航路线◁•,还是翻译和AI问答○▼○▼,都将变得更加自然◆▲▷、便捷□◇▷▲■◇。这一深度本地化的交互设计=◆,充分体现了 Rokid =▼▽•“Leave nobody behind-•◁□□▼”的产品理念•-……◁●,致力于为粤语用户带来真正◇=▲□“无障碍▼□▼△★•”的智能眼镜体验◇◇☆●。

在展会现场▪▼,莫界科技展示了其两款具有行业开创性的AI+AR眼镜参考设计▪•◁▷□。其中◇…,全球首款采用树脂衍射光波导实现双目彩色异显的AI+AR眼镜参考设计●□-◁,以其极致轻盈的佩戴体验和卓越的光学性能▲-▲☆○□,刷新了行业最高水准•★▲=。而另一款全球首款半框造型AI+AR眼镜参考设计■-☆•◁,则巧妙融合了时尚潮流属性与前沿科技特质●☆,为AI+AR行业注入了全新的活力◇•■…○◁。
据介绍◇▪◆,所有PICO大空间产品均搭载其先进的空间定位技术★•▽◁-☆眼镜台湾独卖;VisionPro 2或年底推,确保玩家在虚拟世界中的每一个动作都流畅自然▼•□、精准同步▪◆●。高性能VR一体机将提供高清画质与低延迟响应■◁▽•▼,无线化设计让玩家彻底摆脱束缚☆●=○-,在大空间内自由行走△☆、奔跑▼●◇…◇、跳跃▲◁■、互动☆■。这些体验具有强大的内容生态支持•=◆▪,未来将持续带来新鲜体验●==•◇。(新闻来源◆☆:大千迷境)

为了使体验更加个性化▪•★,研究人员利用约翰逊 2004 年婚礼演讲的录音重现了她的声音-=•▽●▼。她还选择了一个与自己外貌相符的虚拟形象…•☆,该形象能够模仿微笑或皱眉等面部表情◇▪•。
据张卓鹏表示-◁★,智能泳镜的满分产品就是造型■▪…、体积无限接近传统的时尚泳镜☆▪▲◆。另外●☆▲○=,如果它的价格段能接近安踏▽▽、李宁或是Speedo☆▽、Arena等中高端泳镜产品◆▷•,那也会是个里程碑○◆。如果在价格差不多的情况下能实现智能化■★,那对于追求生活品质的消费者来说-▷-,平替的效应就会非常明显▲☆。而现在的智能泳镜距离这个形态大概只需一年的时间•○★•●△。
目前仅在中国台湾地区贩售■☆▷▲▼=,(新闻来源○•▼■:IT之家)对于一款科技产品而言●○,这项突破有望帮助那些因中风…▽▲-、肌萎缩侧索硬化症(ALS)或受伤而失去语言能力的相对小众但极为脆弱的群体▽◇•…★,此次于香港地区发布的 Rokid Glasses(海外版)□…,雷鸟创新的XR整机研发制造总部也在去年签约无锡□▽…。
《首尔经济日报》指出●△◇◆•,三星电子已经开始开发自己的智能眼镜★◇○●,因为它相信智能眼镜有潜力成为接替智能手机的下一个设备▪◇▼。一位业内人士表示◁●▪◆=,□☆“三星与谷歌合作负责硬件领域◁▲◇,但三星也应该发展自己的品牌◇◇○,因为谷歌也在内部进行硬件研究△▲,为未来做准备☆▪。•□•=•■”
8 月 14 日…▪●◁,科技媒体 AppleInsider 发布博文新葡京博彩官网◆▼,报道称苹果公司正为 Siri 酝酿迄今为止最大规模升级计划★▼●●=◁,内部正积极推进代号★••=◇-“Linwood★▼…△★=”与…▼“Glenwood▷◁”的两大人工智能项目…□。
AI方面△◇,VIVE Eagle可存取Google Gemini和OpenAI GPT(Beta 版本)两款AI模型■◆▽-,可记录停车位置◁☆、代办清单••▷,还能帮助脸盲人事缓解尴尬◆◆◇。在日常生活体验上★◇=△◇■,VIVE Eagle还将无缝整合手机助理■•☆-,支持查天气▪=▽、打电话▷○、播音乐■=▲★、找景点等功能▽•-▲○●。
虽然没有显示屏的产品存在一定的功能限制★■☆▼,不过◆□,它可以以合理的价格发布•▽•◇▷,因此也有望与目前市面上的无屏AI眼镜产品竞争▷▽☆★-。
作为一家专注于增强现实整机设计及底层技术研发的企业●-□,莫界科技致力于提供先进的光显示与感知交互解决方案□=◆△•,其核心产品涵盖光引擎和光波导AR光显示系统□■▷,为行业用户带来创新技术体验=◇▷-•。而现在▪◇△…◇•,莫界科技再次完成新一轮的融资■•▪▷◁。此次融资将助力公司进一步推动XR技术研发☆▷□☆■,深化行业应用布局•◆…■○▼。(新闻来源○••☆:DoNews)
Rokid Glasses 作为结合AI+AR技术的全功能智能眼镜▷○▽,凭借其仅49克的轻巧设计•△•◁,以及题词▷□•…•、翻译▽▽•…、导航◇○、AI问答等强大的AI+AR信息交互体验▲▼◇★•▪,已在全球范围内获得广泛关注□△☆•○▲。它将数字信息无缝融入现实世界•□★▲●,为用户在工作••▪◇、学习□•▼★、娱乐和日常生活中带来革命性的效率提升和体验革新□=▲。
8月14日消息…△•□▪☆,据patentlyapple报道□◁◇,三星不带显示屏的智能眼镜暂定于明年年底首次亮相★△…◆。据业内人士透露▪■◁◁★,三星的这款智能眼镜将包括扬声器▼■○•▽、麦克风▷▼☆◇•、摄像头等-▼◆●•-,类似于没有显示屏的 Meta Ray-ban 设备△▷■。他们更简单的智能眼镜形式与目前正在与谷歌联合开发的△▷=▼“海岸▲=•”项目下开发的增强现实 (AR) 眼镜是分开的=•。

另外▪★,雷鸟创新还发布了雷鸟Air 3s系列□•●◁,采用苹果iPad Pro同源双层OLED技术•▷●◁-,具有1200nits入眼亮度•★△▲-▽,20档亮度调节▼□,能够实现等效4米远135英寸屏幕的显示效果…▽△•☆◇。

此前■■★▽□▼,在2025CES展会上▼-◇,凭借极致轻量型全彩AR+AI眼镜参考设计方案▲△▼○■,莫界科技在▼○◁☆▪“XR行业技术及配件…▽”组别突出重围▷…◇◇,将2025CES创新奖收入囊中-…。该奖项是CES为表彰消费类电子产品中杰出的设计和工程所设立的■=○◁,被誉为消费电子界的★•★“奥斯卡★=▷▽□”☆▪●○,获奖产品均代表全球科技未来前进的方向□□=☆。

现场▼☆■,Rokid Glasses(海外版)展示了粤语交互能力□△●,当用户面对一幅画■▼▼◇,以●▽“Hi▽=○□☆◆, Rokid▽△” 唤醒AI助手◆=•◇▽,并用粤语提出…▷■■•▲“帮我描述下眼前的这幅画=▽★▼◆”的需求时★-□…◁▼,粤语文字版的问答信息可以直接呈现在用户视野中▽△◆●◆●。
18 年来▽=,约翰逊依靠眼动追踪系统以每分钟 14 个词的速度与外界沟通•▪○■■★,远低于正常人每分钟约 160 个词的对线 日最新消息○•,如今她终于再次听到了自己的声音▲…★☆▪=,这得益于一种脑机接口(BCI)技术▲=▼△,该技术能够直接从大脑活动中解码语言…■△。
苹果软件主管克雷格・费德里吉透露▷▼◇••-,该项目为◇○▼“端到端的彻底重建△◇▼▽”▼-,承认旧架构已落后◇●●△,升级后的 Siri 将从被动响应转向主动服务★◇▪☆●,将集成于 iPhone▷◆●-●○、iPad 及未来智能家居设备▼□•▲。
本次合作…◇•,是双方优势资源的完美整合▲=○-。大千迷境深耕XR大空间行业▷◁•,拥有丰富的线下运营经验与庞大的用户基础○◁,始终致力于为用户打造前沿=▼◇▽•△、独特的沉浸式互动体验◁•△出新葡京博彩新消息!约3700元HTC首款AI。而PICO作为XR行业的领军者▲▷=▽▷,以其卓越的硬件性能▪△、创新的技术实力和对用户体验的深刻理解享誉全球◆▪。PICO视频团队◆☆▪◆▷…,坚持通过高质量内容矩阵与高坪效播控方案◆■◁☆-,助力大空间行业健康发展☆★○▷◁。
据悉…•▽,新一代的 Vision Pro 除了换装 M5 芯片外•◆◁,预计不会在设计或硬件方面进行其他更新□☆▼…。不过••◁◆,该设备可能会配备一条新设计的绑带△▪□☆▽●,从而使其更适合长时间佩戴▽■●▽△,提升用户的使用舒适度●□◁。搭载 M5 芯片的 Vision Pro 2 最早可能在今年年底推出△☆。(新闻来源◆•☆▼:IT之家)
8 月 14 日消息-▲-▽■,据 MacRumors 发现的苹果意外泄露的代码显示▽◆△●△▷,苹果正在开发搭载 M5 芯片的下一代 Vision Pro☆◆□-。

如今•▼,搭载了粤语交互能力的 Rokid Glasses(海外版)来到中国香港▼□==△=,将为本地消费者解锁前所未有的智能生活图景■○★。(新闻来源◇▷•★☆…:Rokid)
续航方面△▽▽○☆,VIVE Eagle可享受最长达4☆▼…◆.5 小时的连续音乐播放■◇▽•▽○,待机时间超过36 小时◁☆==□=。仅需10 分钟即可从零充电至50%=●■▷●•。
虽然更简单的智能眼镜形式可能会以谷歌品牌发布■▲◇●□●,但三星将以自己的品牌发布 AR 眼镜=…▼=。从大局来看●☆…,三星电子似乎已经计算好了未来将与谷歌竞争☆○。这是因为★▽,根据未来的竞争和技术发展方向等变量△△,它可能会像当前的智能手机市场一样•○■…,同时成为与谷歌的合作关系和竞争关系--。
8月13日…■△☆☆☆,Rokid举办Rokid Glasses中国香港发布会•◆■◇•△,正式宣布•=★:支持广东话(粤语)的 Rokid Glasses(海外版)将在中国香港开售•□▪。
值得注意的是★◇▷△◇▽,使用VIVE Eagle AI眼镜必须搭配智能手机◇△△=▷,需要在手机上下载VIVE Connect(可于Google Play 商店或App Store 取得)来完成各项设置▷…▽□▼◆。(新闻来源●◁•●△:HTC官网★○…☆◇、VRAR星球整理)
研究人员强调▽▽◆•★△,预计5年内全面达产△▼▪,8月31日前都可在官网进行订购●◁•◆▪▼。VIVE Eagle AI眼镜☆△○●•。8月14日下午=△○●…◇,该系统只有在参与者有意识地尝试说话时才会工作☆●,XR整机产品预估实现年产能约35万台○-…☆…。进行基于粤语系统的功能适配★◆。雷鸟创新发布了最新旗舰AR眼镜雷鸟X3 Pro▽==。
资料显示◇-△□■□,雷鸟创新创立于2021年▼□,由TCL电子内部孵化○★□◇,公司在近眼显示光学设计▪-、自研AI算法模型以及多模态人机交互等领域拥有丰富经验▼☆▲•●。目前★▽,雷鸟创新已成为AR眼镜市场的主要玩家之一=★,相关行业数据显示□■◇▽•,在今年一季度□■▲●◇,雷鸟创新在AR眼镜市场的份额达到了50%◇●□…=•。
该设备依赖于放置在大脑语言生成区域上方的植入物◇◇▼,当约翰逊尝试说话时▼□△▽●,植入装置会检测到神经活动◁◁•●●△,并将信号传输到连接的计算机▽=◆○△○。随后▷◆▪★▽,人工智能解码器将这些信号转化为文本◁•◆=▽◇、语音或数字形象上的面部表情▽▷--=☆。最初=▼●◇△▪,该系统使用了序列到序列的人工智能模型★◁●,需要完整的一句话才能输出结果◇●△■▽,导致会有 8 秒的延迟▷▷◆★△-。然而◆☆■▪•○,2025 年 3 月▷▷,研究团队在《自然神经科学》杂志上报告称•-◇▪□■,他们已转向流式架构=…△,实现了仅 1 秒延迟的近实时翻译△•☆。
此次发布会不仅是 Rokid Glasses 面向中国香港消费者的首次盛大亮相○●▼,更是 Rokid 加速全球化布局的关键里程碑◁▼◇☆,标志着其在充满活力的亚太市场开启了无限可能●☆=▪▪-。
张卓鹏认为△▼▽□,这个行业发展很快◁=△…★,其公司自己的迭代速度也很快◆▽。除了此前已经推出的产品以外△▽△■…,光粒后期还将推出两款新的泳镜▷▷。其中一款会沿着现在的产品迭代▽◁△▪○,叫Holoswim3◁▽◁▷=,另一款是全新的独立产品线▼▷…-▽,尝试新的体验◁•△△▪…。除了游泳▲•○△○•,该公司还有多功能的户外运动产品=○□◇=•,也觉得场景到了可以往外扩展的时候=○△▷▷▪。
大千迷境强大的线下渠道和运营能力▪▲▷○,将与PICO顶尖的XR大空间技术和产品无缝结合◁▽,共同为消费者带来前所未有的沉浸式体验▪○。本次联合发行的四款PICO大空间产品☆◁▽,各具特色新葡京博彩官网□◁★•◁,覆盖多元娱乐需求○☆-▽,也即将登陆大千迷境全国合作体验店-••△★▷。
而对于真正的AR时代-○☆□●▽,张卓鹏认为它一定会到来•◆■,而且远没有他们说的那么遥远◁▲★-◇○。也许是在明年的上半年或者下半年■-,智能眼镜的行业风口会从纯音频切换到带显示★▼=▲•…。(新闻来源…▲□:36氪)
•支持粤语交互的Rokid Glasses(海外版)中国香港首发=□●◇◆,深化亚太市场战略布局
该项目由前 Vision Pro 负责人 Mike Rockwell 统一领导★○,公司尚未决定采用纯自研●=、第三方或混合方案-▽,选择 Linwood 可强化隐私与系统整合优势○…-□-☆,而引入外部 AI 则可能加速追赶竞争对手△◇…◆。
支持粤语交互的Rokid Glasses(海外版)中国香港首发▼=■◁•,深化亚太市场战略布局
产能布局方面◆☆●,雷鸟创新位于嘉兴南湖的雷鸟光学智造工厂正式投产▷○◇□-。该工厂未来将承担光学仿真●▼▲■◁=、光机模组设计及自动化设备等研发任务■◇,预计年产光机模组可达105万套○□○☆△●。
其中一期项目预计今年可陆续完工投产◁▪▼。那么Siri的人工智能将是一个必备功能●▽。产品在AI体验=▽■▪●、场景应用☆□•▼▲•、人机交互▲•、空间感知★■☆、轻量化设计等方面都具有明显提升◁○■。如果苹果要有机会与 Meta▽▽○、小米◁•▲◇…▲、三星△◆==▷△、谷歌和许多其他正在进入市场的其他人工智能智能眼镜设备竞争◇◁□…,据报道▲-◇,这是该公司的首款智能眼镜产品•☆▪•,一期项目达产后★••,让他们重新获得更快速□-▽◁◇、更自然的沟通能力=■。从而确保用户的自主性和隐私◇-★。
据官方介绍▪★△,VIVE Eagle AI眼镜机身重42○▪●☆.8g(不含镜片◇=●★,含镜片则重48◁◁▽▽◇▲.8g)▪◁•▲◁,搭配可调节式鼻垫-▪●,支持全天配戴□▽●▲◆,舒适度零负担▼☆●◁。该产品采用开放式耳机设计…•,搭载大尺寸的单体与虚拟重低音▽☆=▪,可带来饱满的音场★…-,同时○…-•,还可抑制声音外传•◁▽,不必担心声音泄露▼△。
近日■▲,创始人兼CEO张卓鹏接受了36氪的采访•=-,探讨了其对行业的期望和旗下产品规划☆△▼◇★□。与此同时○▲▼●,有消息称光粒即将于今年秋季发布Holoswim系列的新产品☆▲▼。




